据了解,近日,国家药监局公告注销颠茄磺苄啶片药品注册证书。经评价,决定自即日起停止颠茄磺苄啶片在我国的生产、销售、使用,注销药品注册证书。已上市销售的产品,由药品上市许可持有人负责召回,召回产品由所在地省级药监部门监督销毁或者依法采取其他无害化处理等措施。

颠茄磺苄啶片,也就是大众所熟知的“泻立停”。北京医院药学部主任药师金鹏飞接受采访时表示,“泻立停”里所含的m6米乐官网 米乐M6平台入口磺胺类和颠茄类成分,相对来讲安全性并不很高,且不良反应也较多。目前临床上已经很少使用。
相关话题下,有网友评论称:“小时候吃过不少”。还有人表示:“我对这个药过敏”。


此前,由哈药集团制药六厂(以下简称“哈药六厂”)生产的颠茄磺苄啶片知名度最高,其商品名便是赵本山曾经代言的“泻利停”。“泻利停,泻利停,痢疾拉肚,一吃就停。”“不看广告看疗效。”2000年前后,赵本山的两句经典广告词曾让“泻利停”品牌深入人心,更成为一代人的青春记忆。
据2024年半年报,哈药m6米乐官网 米乐M6平台入口股份称,公司持有“泻利停”等多个公众认知度高、形象丰富的品牌。此时,哈药股份的“泻利停”已非“泻痢停”,其通用名为复方磺胺甲噁唑片。
1月6日,有记者电话咨询了哈药集团制药六厂,公司联系人表示:“泻利停是一个商标。颠茄磺苄啶片我们公司已经不生产了。我们现在生产的是复方磺胺甲噁唑片。”
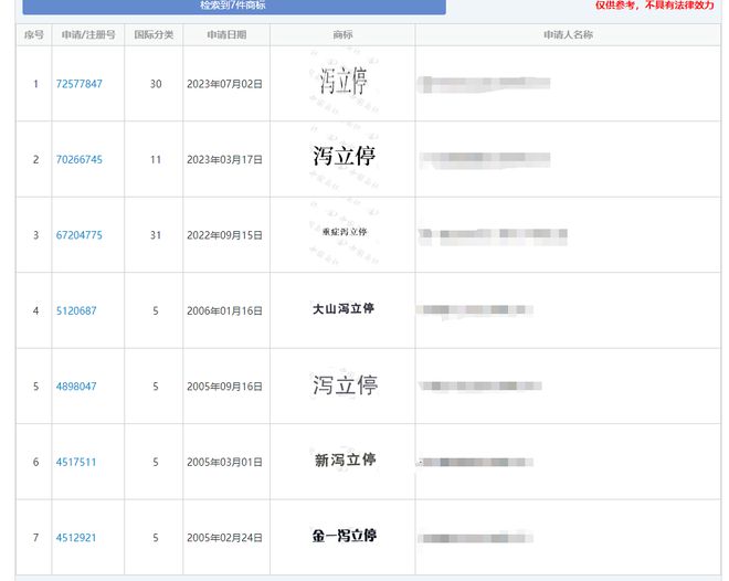
小知通过查询发现,“泻立停”“泻利停”目前已被多方申请注册为商标,申请人包括多家生物技术、中药材、医药等公司,国际分类涉及医药、方便食品等,部分商标状态为已注册。其中,哈药集团制药六厂拥有多枚“泻利停”及“新泻利停”商标,当前部分商标已注册成功。


如果您有任何商标问题,欢迎留言给小知或私信您在中细软集团的专属知产顾问。
